Datasheet4U Logo Datasheet4U.com

VP3482 - Boost/SEPIC/Flyback DC/DC Controller

Product Overview

📥 Download Datasheet

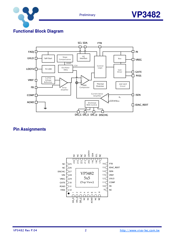
Datasheet preview – VP3482

Datasheet Details

Part number VP3482
Manufacturer Viva Electronics
File Size 450.05 KB
Description Boost/SEPIC/Flyback DC/DC Controller
Datasheet download datasheet VP3482 Datasheet
Additional preview pages of the VP3482 datasheet.

Product details

Features

Other Datasheets by Viva Electronics
Published: |