Datasheet4U Logo Datasheet4U.com

DIR1703 - DIGITAL AUDIO INTERFACE RECEIVER

General Description

The DIR1703 is a digital audio interface receiver (DIR) which receives and decodes audio data up to 96 kHz according to the AES/EBU, IEC958, S/PDIF, and EIAJCP340/1201 consumer and professional format interface standards.

Key Features

  • D Standard Digital Audio Interface Receiver (EIAJ1201) D Sampling Rate: 32 / 44.1 / 48 / 88.2 / 96 kHz D Recover 128 / 256 / 384 / 512 fs System Clock D Very Low Jitter System Clock Output (75 ps Typically) D On-Chip Master Clock Oscillator, Only an External Crystal Is Required: 24.576 / 22.5792 / 18.432 / 16.9344 / 16.384 / 12.288 / 11.2896 / 8.192 / 6.144 / 5.6448 / 4.096 MHz Crystals Are Available D Selectable Output PCM Audio Data Format D Selectable Crystal Clock and PPL Clock Operation Mod.

📥 Download Datasheet

Full PDF Text Transcription (Reference)

The following content is an automatically extracted verbatim text from the original manufacturer datasheet and is provided for reference purposes only.

View original datasheet text
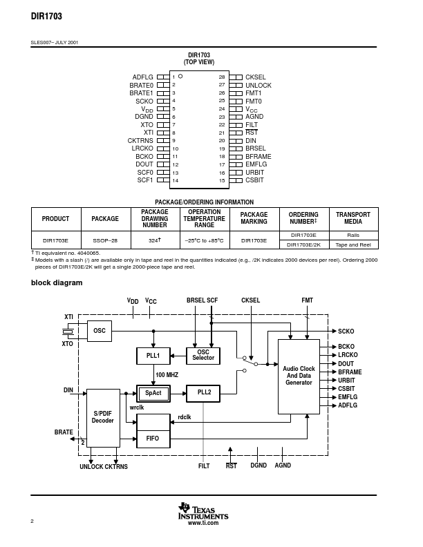
DIR1703 SLES007– JULY 2001 DIGITAL AUDIO INTERFACE RECEIVER FEATURES D Standard Digital Audio Interface Receiver (EIAJ1201) D Sampling Rate: 32 / 44.1 / 48 / 88.2 / 96 kHz D Recover 128 / 256 / 384 / 512 fs System Clock D Very Low Jitter System Clock Output (75 ps Typically) D On-Chip Master Clock Oscillator, Only an External Crystal Is Required: 24.576 / 22.5792 / 18.432 / 16.9344 / 16.384 / 12.288 / 11.2896 / 8.192 / 6.144 / 5.6448 / 4.096 MHz Crystals Are Available D Selectable Output PCM Audio Data Format D Selectable Crystal Clock and PPL Clock Operation Mode D Output User Bit Data, Flag Signals, and Channel Status Data With Block Start Signal D Single 3.