Datasheet4U Logo Datasheet4U.com

DIR1701 - DIGITAL AUDIO INTERFACE RECEIVER

General Description

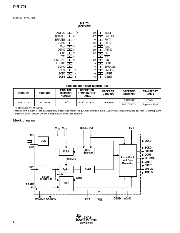
The DIR1701 is a digital audio interface receiver (DIR) which receives and decodes audio data up to 96 kHz according to the AES/EBU, IEC958, S/PDIF, and EIAJCP340/1201 consumer and professional format interface standards.

Key Features

  • D Standard Digital Audio Interface Receiver (EIAJ1201) D Sampling Rate: 32/44.1/48/88.2/96 kHz D Recover 128 / 256 / 384 / 512 fs System Clock D Very Low Jitter System Clock Output (80ps Typically) D On-Chip Master Clock Oscillator, Only an External 12.000 MHz or 16.000 MHz Crystal Is Required D Selectable Output PCM Audio Data Format D Output User Bit Data, Flag Signals, and Channel Status Data With Block Start Signal D Single + 3.3-V Power Supply D Package: 28 SSOP.

📥 Download Datasheet

Full PDF Text Transcription (Reference)

The following content is an automatically extracted verbatim text from the original manufacturer datasheet and is provided for reference purposes only.

View original datasheet text
DIR1701 SLAS331 – APRIL 2001 DIGITAL AUDIO INTERFACE RECEIVER FEATURES D Standard Digital Audio Interface Receiver (EIAJ1201) D Sampling Rate: 32/44.1/48/88.2/96 kHz D Recover 128 / 256 / 384 / 512 fs System Clock D Very Low Jitter System Clock Output (80ps Typically) D On-Chip Master Clock Oscillator, Only an External 12.000 MHz or 16.000 MHz Crystal Is Required D Selectable Output PCM Audio Data Format D Output User Bit Data, Flag Signals, and Channel Status Data With Block Start Signal D Single + 3.