Datasheet4U Logo Datasheet4U.com

S-82Y1C - BATTERY PROTECTION IC

Key Features

  • High-accuracy voltage detection circuit Overcharge detection voltage 3.500 V to 4.800 V (5 mV step) Accuracy ±10 mV Overcharge release voltage 3.100 V to 4.800 V.
  • 1 Accuracy ±50 mV Overdischarge detection voltage 2.000 V to 3.000 V (10 mV step) Accuracy ±50 mV Overdischarge release voltage 2.000 V to 3.400 V.
  • 2 Accuracy ±75 mV Discharge overcurrent 1 detection voltage 3 mV to 50 mV (0.25 mV step) Accuracy ±0.5 mV Discharge overcurrent 2 detection voltage 6 mV to.

📥 Download Datasheet

Datasheet Details

Part number S-82Y1C
Manufacturer ABLIC
File Size 607.81 KB
Description BATTERY PROTECTION IC
Datasheet download datasheet S-82Y1C Datasheet

Full PDF Text Transcription (Reference)

The following content is an automatically extracted verbatim text from the original manufacturer datasheet and is provided for reference purposes only.

View original datasheet text
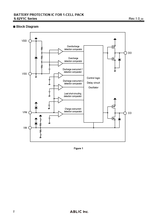
S-82Y1C Series www.ablic.com © ABLIC Inc., 2024 BATTERY PROTECTION IC FOR 1-CELL PACK Rev.1.0_00 This IC is a protection IC for lithium-ion / lithium polymer rechargeable batteries, which includes high-accuracy voltage detection circuits and delay circuits. It is suitable for protecting 1-cell lithium-ion / lithium polymer rechargeable battery packs from overcharge, overdischarge, and overcurrent. Use of an external overcurrent detection resistor enables this IC to provide high-accuracy overcurrent protection with less impact from temperature changes.  Features • High-accuracy voltage detection circuit Overcharge detection voltage 3.500 V to 4.800 V (5 mV step) Accuracy ±10 mV Overcharge release voltage 3.100 V to 4.800 V*1 Accuracy ±50 mV Overdischarge detection voltage 2.