Datasheet4U Logo Datasheet4U.com

MS91050 - Configurable AFE

General Description

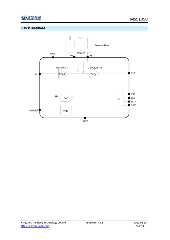
The MS91050 is a single channel non-dispersive infrared (NDIR) sensor analog front end.

The output voltage is directly proportional to thermopile voltage.

And the programmable ability can support several thermopile sensors.

Key Features

  • Single Channel Input.
  • Programmable Gain Amplifier.
  • Dark Phase Offset Canceling.
  • Support External Filtering.
  • Common-mode Generator and 8-bit ADC.
  • MSOP10 Package.

📥 Download Datasheet

Datasheet Details

Part number MS91050
Manufacturer Ruimeng
File Size 1.15 MB
Description Configurable AFE
Datasheet download datasheet MS91050 Datasheet

Full PDF Text Transcription (Reference)

The following content is an automatically extracted verbatim text from the original manufacturer datasheet and is provided for reference purposes only.

View original datasheet text
MS91050 Configurable AFE for Non-Dispersive Infrared Sensor PRODUCT DESCRIPTION The MS91050 is a single channel non-dispersive infrared (NDIR) sensor analog front end. The output voltage is directly proportional to thermopile voltage. And the programmable ability can support several thermopile sensors. The MS91050 has programmable gain amplifier, dark phase offset canceling, and adjustable common-mode generator (1.15V or 2.59V), increasing output dynamic range. The MS91050 could realize extra signal filtering (high-pass, low-pass or band-pass) by A0 and A1 pins, in order to eliminate the noise out of band. And the user can program through SPI interface. The operation voltage is from 2.7V to 5.5V.