Datasheet4U Logo Datasheet4U.com

MS5614T - 2.5V to 5.5V 12-Bit DAC

Download the MS5614T datasheet PDF. This datasheet also covers the MS5614 variant, as both devices belong to the same 2.5v to 5.5v 12-bit dac family and are provided as variant models within a single manufacturer datasheet.

General Description

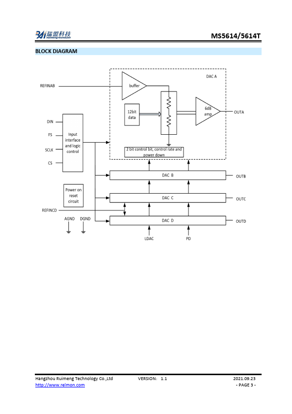
MS5614/5614T is a 12bit four channel output voltage DAC, the interface uses the four wire serial port mode, it can be compatible with TMS320, SPI, QSPI and Microwire serial port.

Key Features

  • 12bit Conversion Accuracy.
  • Programmable Setup Time 3us or 9us.
  • Compatible with TMS320, SPI, QSPI, Microwire Interface.
  • Internal Power on Reset.
  • Low Power Consumption.
  • Integration REF Buffer.
  • The output range is twice the reference voltage.
  • Software and Hardware Power Down Power Supply Voltage: 2.7V  5.5V SOP16.

📥 Download Datasheet

Note: The manufacturer provides a single datasheet file (MS5614-Ruimeng.pdf) that lists specifications for multiple related part numbers.

Datasheet Details

Part number MS5614T
Manufacturer Ruimeng
File Size 756.48 KB
Description 2.5V to 5.5V 12-Bit DAC
Datasheet download datasheet MS5614T Datasheet

Full PDF Text Transcription (Reference)

The following content is an automatically extracted verbatim text from the original manufacturer datasheet and is provided for reference purposes only.

View original datasheet text
MS5614/5614T 2.5V to 5.5V 12Bit DAC with POWER DOWN PRODUCT DESCRIPTION MS5614/5614T is a 12bit four channel output voltage DAC, the interface uses the four wire serial port mode, it can be compatible with TMS320, SPI, QSPI and Microwire serial port. MS5614/5614T control data has 16bit, including DAC address, control byte, and 12bitDAC data, the power range is 2.7V to 5.5V. The output of resistor series is connected to a class AB rail to rail buffer with a gain of 6dB. The output buffer improves the stability and reduces the setup time. MS5614/5614T has power down mode, which can optimize power consumption at work. MS5614 is SOP16 package and MS5614T is TSSOP16 package.