Datasheet Details
| Part number | MS5221M |
|---|---|
| Manufacturer | Ruimeng |
| File Size | 531.31 KB |
| Description | 12-Bit Single-Channel DAC |
| Datasheet |
|
|
|
|
Download the MS5221M datasheet PDF. This datasheet also covers the MS5221 variant, as both devices belong to the same 12-bit single-channel dac family and are provided as variant models within a single manufacturer datasheet.
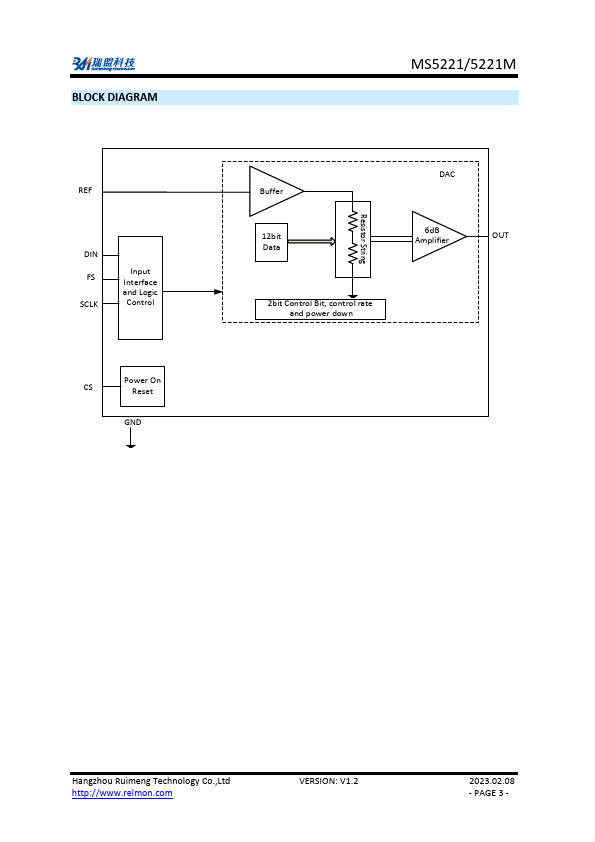
The MS5221/5221M is a 12bit, single-channel output voltage DAC.
The interface uses the three-wire serial port mode, and it can be compatible with TMS320, SPI, QSPI and Microwire serial port.
The MS5221/5221M has 16bit control data, including control byte and 12bit DAC data.
| Part number | MS5221M |
|---|---|
| Manufacturer | Ruimeng |
| File Size | 531.31 KB |
| Description | 12-Bit Single-Channel DAC |
| Datasheet |
|
|
|
|
| Part Number | Description | Manufacturer |
|---|---|---|
| MS500 | Surface Mount Si-Bridge-Rectifiers | Diotec Semiconductor |
| MS508 | 5 Amp Schottky Rectifier | Microsemi Corporation |
| MS509 | 5 Amp Schottky Rectifier | Microsemi Corporation |
| MS510 | 5 Amp Schottky Rectifier | Microsemi Corporation |
| MS5168 | ZigBee Module | Meshreen |
| Part Number | Description |
|---|---|
| MS5221 | 12-Bit Single-Channel DAC |
| MS5224D | 2.7V to 5.5V 12-bit four-channel analog-to-digital converter |
| MS5213T | 16-bit Analog to Digital Converter |
| MS5281D | 24bit 192kHz Dual Channel Differential Digital to Analog Converter |
| MS5175 | 16-bit built-in reference analog-to-digital converter |
The following content is an automatically extracted verbatim text from the original manufacturer datasheet and is provided for reference purposes only.