Datasheet Details
| Part number | MR793200 |
|---|---|
| Manufacturer | LAPIS |
| File Size | 568.52 KB |
| Description | UHF band RFID Sensor LSI |
| Datasheet |
|
|
|
|
This page provides the datasheet information for the MR793200, a member of the MR7930 UHF band RFID Sensor LSI family.
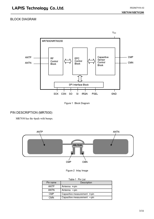
MR7930 has the 4pads with bumps.
| Part number | MR793200 |
|---|---|
| Manufacturer | LAPIS |
| File Size | 568.52 KB |
| Description | UHF band RFID Sensor LSI |
| Datasheet |
|
|
|
|