Datasheet4U Logo Datasheet4U.com

MR7930 - UHF band RFID Sensor LSI

Datasheet Summary

Description

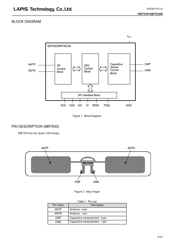
MR7930 has the 4pads with bumps.

Features

  • RF communication - Carrier frequency - Data transfer speed RW => Tag Tag => RW - Modulation - Option command : 860 to 960 MHz (UHF band) : 26.7 to 128 kbps (when the values of data-0 and data-1 are the same) : 40 to 640 kbps : DSB-ASK, SSB-ASK, PR-ASK : ACCESS and BLOCK WRITE (data length is one or two words).
  • RF communication characteristics - Receiver sensitivity (passive) READ : -9.5 dBm (LSI end) WRITE : -8.5 dBm (LSI end) READ/WRITE(Sensor) : -8.5 dBm (LSI end) - Reflec.

📥 Download Datasheet

Datasheet preview – MR7930

Datasheet Details

Part number MR7930
Manufacturer LAPIS
File Size 568.52 KB
Description UHF band RFID Sensor LSI
Datasheet download datasheet MR7930 Datasheet
Additional preview pages of the MR7930 datasheet.
Other Datasheets by LAPIS

Full PDF Text Transcription

Click to expand full text
MR7930/MR793200 UHF band RFID Sensor LSI FEDM7930-02 Issue Date: Jan. 12, 2024 OVERVIEW MR7930/MR793200 is a passive UHF band RFID Sensor LSI for the battery-less short-range IoT devices. This LSI is equipped with sensor function to measure electrostatic capacitance. It is possible to control sensor function by the mandatory command (READ, WRITE) from Reader/Writer (RW ; interrogator) that is compliant with the international standard EPC global Generation2-Ver.2.0.1 (EPC standard or EPC Gen2). MR7930 is bump wafer product for inlay tag. MR793200 is package product that has SPI slave interface. FEATURES ⚫ RF communication - Carrier frequency - Data transfer speed RW => Tag Tag => RW - Modulation - Option command : 860 to 960 MHz (UHF band) : 26.
Published: |