Datasheet4U Logo Datasheet4U.com

ML7630 - 13.56MHz wireless charging Rx LSI

Datasheet Summary

Description

PIN No.

1) ( 2) D6 VSS0 C6 VSS1 F3 VSS2 C2 VSS3 F1 VSS4 E6 VDD_IO E2 LDO1V5 H(A) OA E1 LDO1V8 H(A) OA A1 P_ANT F2 ISO_V

Features

  • Charging control.
  • Charging power output funcion Charging output(LDO): Setting of output voltage and setting of current limitation 200mW receiving available.
  • Abnormaly detection by software control and hardware control.
  • Communication control.
  • NFC Forum Type3 TAG function included.
  • Communication speed: 212kbps (13.56MHz/64).
  • 1kbyte data flash for storing TAG data contents.
  • Host interface(I2C slave).
  • Normal mode(100kbit/s), Fast.

📥 Download Datasheet

Datasheet preview – ML7630

Datasheet Details

Part number ML7630
Manufacturer LAPIS
File Size 384.96 KB
Description 13.56MHz wireless charging Rx LSI
Datasheet download datasheet ML7630 Datasheet
Additional preview pages of the ML7630 datasheet.
Other Datasheets by LAPIS

Full PDF Text Transcription

Click to expand full text
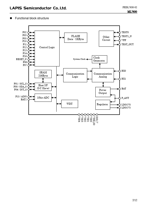
ML7630 13.56MHz wireless charging Rx LSI FEDL7630-02 Published:Nov. 18, 2019  Overview The ML7630 is a wireless charging Rx LSI using 13.56MHz carrier frequency, which enables to receive 200mW power wirelessly from a Tx device using the ML7631. The ML7630 also supports the NFC Forum Type3 TAG functions, and a TAG data is read out by the NFC readers including smartphones and tablets. The ML7630 is equipped with an I2C slave port for host interface and a 10bit SA-ADC for measuring output current to control charging current by software. This is an ideal solution for small rechargeable devices such as headset, ear-pads and wearables.
Published: |