Datasheet4U Logo Datasheet4U.com

S-585AA - BUILT-IN ARP FUNCTION 2-WIRE SERIAL E2PROM

General Description

Select address input Select address input Select address input Ground Serial data I/O Serial clock input Temperature event output Power supply

1.

Do not use it in "High-Z".

Remark For DFN-8(2030)B package, connect the heatsink of back side to the board, and set electric potential open or VSS.

Key Features

  • Package E2PROM block.
  • Page write: 16 bytes / page.
  • Sequential read.
  • Write protect function during low power supply voltage.
  • Write protect: Individual software data protection for each of four 128-byte blocks.
  • Endurance: 106 cycle / word.
  • 1 (Ta = +25°C).
  • Data retention: 100 years (Ta = +25°C).
  • Memory capacity: 4 K-bit.
  • Initial delivery state: FFh.
  • DFN-8(2030)B 5 8 4 1 (3.0 × 2.0 × t0.8 m.

📥 Download Datasheet

Datasheet Details

Part number S-585AA
Manufacturer ABLIC
File Size 670.83 KB
Description BUILT-IN ARP FUNCTION 2-WIRE SERIAL E2PROM
Datasheet download datasheet S-585AA Datasheet

Full PDF Text Transcription (Reference)

The following content is an automatically extracted verbatim text from the original manufacturer datasheet and is provided for reference purposes only.

View original datasheet text
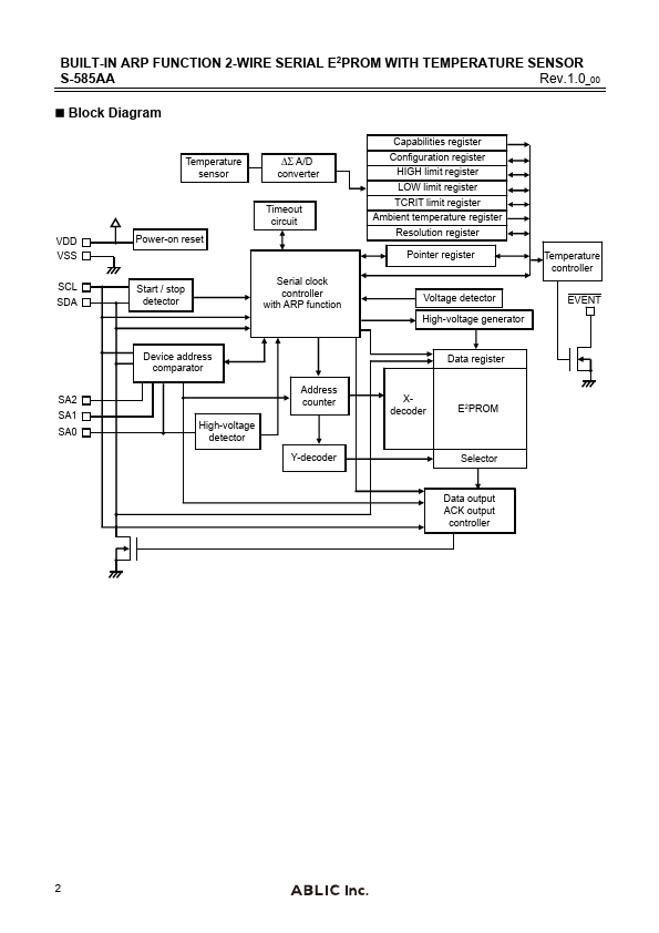
S-585AA www.ablic.com © ABLIC Inc., 2021 BUILT-IN ARP FUNCTION 2-WIRE SERIAL E2PROM WITH TEMPERATURE SENSOR Rev.1.0_00 This IC is a 2-wire serial E2PROM with temperature sensor built in Address Resolution Protocol (ARP) function which operates in 1.7 V to 3.6 V voltage ranges. This IC has the capacity of 4 K-bit and the organization of 2 pages × 256-word × 8-bit. Page write and sequential read are available. This IC operates with the SMBus and I2C-Bus at 1.0 MHz maximum. A substantial reduction in current consumption may be achieved by using shutdown mode which can be set by the I2C-Bus. In addition, the SMBus ARP function is supported; therefore, this IC is optimal for SSDs that communicate over the SMBus.