Datasheet4U Logo Datasheet4U.com

VD8103 - 5V 3A Ultralow Dropout Linear Regulator

Product Overview

📥 Download Datasheet

Datasheet preview – VD8103

Datasheet Details

Part number VD8103
Manufacturer Viva Electronics
File Size 756.86 KB
Description 5V 3A Ultralow Dropout Linear Regulator
Datasheet download datasheet VD8103 Datasheet
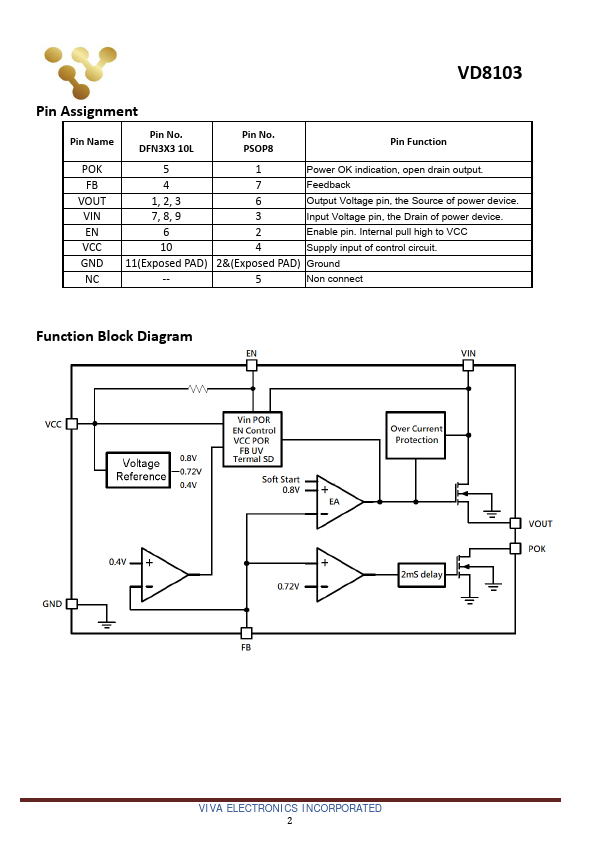
Additional preview pages of the VD8103 datasheet.

Product details

Description

The VD8103 is a 3A low dropout linear regulator designed for low dropout and high current applications.

Features

Other Datasheets by Viva Electronics
Published: |